欢迎来到匠人教育
立即咨询

了解行业内最新资讯
2026-01-08 09:50
6792
匠人教育










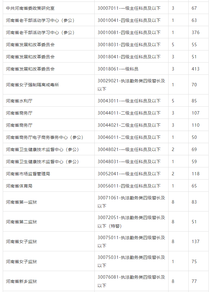
注意:本次考试网上报名须进行身份认证,报名系统将于1月12日17:00关闭。请报考者合理安排报名时间、尽早报名
报名方式
报名时间:2026年1月6日9:00至1月12日17:00 报名入口:河南省人事考试中心网站(http://www.hnrsks.com)“河南省2026年度统一考试录用公务员专栏”进入报名系统

